产品搜索
公司:最新HTH华体育app下载
电话:
手机:13120937397
传真:
邮箱:408823840@qq.com
网址:www.chefcomm.com
DY30AX-10/16Q缓开缓闭止回阀
DY30AX-10/16Q缓开缓闭止回阀概述:
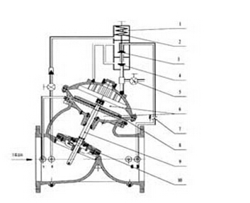
DY30AX缓开缓闭止回阀是一种多功能止回阀,由阀体、阀盖、阀瓣、阀杆、弹簧、导阀等零件组成。上阀盖与下阀盖之间为隔膜腔,隔膜腔内设隔膜,隔膜与中心轴连接,中心轴另一端连接阀门,阀门与阀座接触。水容器与上阀盖进水、出水控制孔连通,水容器与上阀盖出水为节流连通,水容器与上阀盖进水为单向连通。DY30AX缓开缓闭止回阀能快速开启,反应迅速;快速关闭,防止水锤产生。无水质要求,可用于污水、清水及原水系统。
DY30AX-10/16Q缓开缓闭止回阀性能:
缓开缓闭止回阀(多功能止回阀),是一种新型的阀门,可以取代传统设计的止回阀、电动阀和水锤吸纳器。多功能止回阀具有缓开、缓闭消水锤、止回功能,其可靠性及效果比传统形式更好。
DY30AX-10/16Q缓开缓闭止回阀结构图:

DY30AX-10/16Q缓开缓闭止回阀特点:
1、安全可靠性高。具有速闭、缓闭以及吸能腔三种消除水锤措施,而且动作完全联锁,不会产生误动作。
2、无需操作控制。当水泵启停时,巧妙地利用阀门两端的介质及其压力差作为驱动介质和控制动力,使阀门自动按水泵操作规程的要求进行动作。
3、无需专业调试。阀门动作不受液位高差和出水压力以及水泵流量变化的影响,适应范围广。
4、基本无需维修,寿命长。
5、节能效果明显。利用进口端的压力进入下腔支撑膜片压板及阀杆的重量,阻力损失小。
DY30AX-10/16Q缓开缓闭止回阀用途:
DY30AX缓开缓闭多功能止回阀安装在市政、建筑、钢铁、冶金、石油、化工、煤气(天然气)、食品、医药、电站、核电等领域的取水、送水、潜水、污水泵房及石油、化工流体的输送系统中,融电动阀、止回阀和水锤消除器三种设备的功能于一体,能有效地提高系统安全可靠性,满足系统自动化控制要求。
DY30AX-10/16Q缓开缓闭止回阀材质:
零件名称 |
材质 |
阀体、阀盖 |
球墨铸铁、铸钢、不锈钢 |
阀杆 |
铬不锈钢 |
阀瓣 |
球墨铸铁、碳钢、不锈钢+丁腈橡胶 |
O形圈 |
丁腈橡胶 |
弹簧0 |
不锈钢 |
DY30AX-10/16Q缓开缓闭止回阀技术参数:
公称压(Mpa) |
壳体试验压力(MPa) |
密封试验压力(MPa) |
适用介质 |
介质温度(℃) |
1.0 |
1.5 |
1.1 |
水 |
0-80 |
1.6 |
2.4 |
1.76 |
||
2.5 |
3.75 |
2.75 |
DY30AX-10/16Q缓开缓闭止回阀规格尺寸:

订货须知:
一、①DY30AX-10/16Q缓开缓闭止回阀产品名称与型号②DY30AX-10/16Q缓开缓闭止回阀口径③是否带附件以便我们的为您正确选型。订货须知:
二、若已经由设计单位选定DY30AX-10/16Q缓开缓闭止回阀型号,请按DY30AX-10/16Q缓开缓闭止回阀型号直接向我们标光阀门销售部订购。
三、当使用的场合非常重要或环境比较复杂时,请您尽量提供设计图纸和详细参数,由我们标光阀门专家为您审核把关。
尊敬的客户:
欢迎您访问我们的网站//www.chefcomm.com,首先感谢您对我们标光阀门的关注,如果您对我们的产品、服务有任何建议或者疑问的话,请立即联系我们!我们一定会尽心尽力为您提供优质的服务!!!




