产品搜索
公司:最新HTH华体育app下载
电话:
手机:13120937397
传真:
邮箱:408823840@qq.com
网址:www.chefcomm.com
SSJB-10压盖式伸缩接头
SSJB-10压盖式伸缩接头概述:
压盖式伸缩接头安装在管道上后,拧紧螺母弹性密封圈,在螺母压盖的作用下依靠相互斜度,紧压在管子外圈密封和连接作用。当温度变化时管子能在接头中间自由的伸缩,当地基下沉,管子能偏斜,并确保密封无渗漏,从而起到自动补偿目的。
SSJB-10压盖式伸缩接头用途:
压盖式伸缩接头为各种给排水管道、水塔、水泵、水表、阀门的安装拆换提供了极大方便,给长距离管路因温差伸缩起到了很好的调节作用。
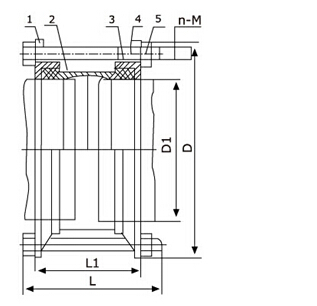
SSJB-10压盖式伸缩接头结构图:

SSJB-10压盖式伸缩接头性能参数:
连接方式:焊接,
工作压力:0.6-1.6MPA,
公称通经:65-4000mm,
使用介质:水、污水。
使用温度:常温,
密封材料:NBR,
制造标准:GB/T12465-2002
SSJB-10压盖式伸缩接头主要零件材料:
序号 |
名称 |
数量 |
材料 |
1 |
本体 |
1 |
QT400-15、Q235A、ZG230-450、20 |
2 |
密封圈 |
1 |
NBR |
3 |
压盖 |
1 |
QT400-15、Q235A、ZG230-450、20 |
4 |
限位短管法兰 |
1 |
Q235A、20、16Mn |
5 |
螺母 |
4n |
Q235A、20、1Cr18Ni9Ti |
6 |
长螺柱 |
n |
Q235A、35、1Cr18Ni9Ti |
7 |
螺柱 |
n |
Q235A、35、1Cr18Ni9Ti |
SSJB-10压盖式伸缩接头外形连接尺寸:
公称通径 |
管子外径 |
外形尺寸 |
伸缩量 |
法兰连接尺寸 |
||||||
Dw |
L |
L1 |
0.6MPa |
1.0MPa |
||||||
D |
D1 |
n-d |
D |
D1 |
n-d |
|||||
65 |
76 |
340 |
105 |
50 |
160 |
130 |
4-14 |
185 |
145 |
4-18 |
80 |
89 |
190 |
150 |
4-18 |
200 |
160 |
8-18 |
|||
100 |
108 |
210 |
170 |
220 |
180 |
|||||
114 |
||||||||||
125 |
133 |
240 |
200 |
8-18 |
250 |
210 |
||||
140 |
||||||||||
150 |
159 |
265 |
225 |
285 |
240 |
8-22 |
||||
168 |
||||||||||
200 |
219 |
320 |
280 |
340 |
295 |
|||||
250 |
273 |
370 |
335 |
12-18 |
395 |
350 |
12-22 |
|||
300 |
325 |
350 |
130 |
65 |
440 |
395 |
12-22 |
445 |
400 |
|
350 |
377 |
490 |
445 |
505 |
460 |
16-22 |
||||
400 |
426 |
540 |
495 |
16-22 |
565 |
515 |
16-26 |
|||
450 |
480 |
595 |
550 |
615 |
565 |
20-26 |
||||
500 |
530 |
645 |
600 |
20-22 |
670 |
620 |
||||
600 |
630 |
755 |
705 |
20-26 |
780 |
725 |
20-30 |
|||
700 |
720 |
860 |
810 |
24-26 |
895 |
840 |
24-30 |
|||
800 |
820 |
590 |
220 |
130 |
975 |
920 |
24-30 |
1015 |
950 |
24-33 |
900 |
920 |
1075 |
1020 |
1115 |
1015 |
28-33 |
||||
1000 |
1020 |
1175 |
1120 |
28-30 |
1230 |
1160 |
28-36 |
|||
1200 |
1220 |
1405 |
1340 |
32-33 |
1455 |
1380 |
32-40 |
|||
1400 |
1420 |
1630 |
1560 |
36-36 |
1675 |
1590 |
36-42 |
|||
1500 |
1520 |
1730 |
1660 |
- |
- |
- |
||||
1600 |
1620 |
1830 |
1760 |
40-36 |
1915 |
1820 |
40-48 |
|||
1800 |
1820 |
2045 |
1970 |
44-40 |
2115 |
2020 |
44-48 |
|||
2000 |
2020 |
2265 |
2180 |
48-42 |
2325 |
2230 |
48-48 |
|||
2200 |
2220 |
2475 |
2390 |
52-42 |
2550 |
2440 |
52-56 |
|||
2400 |
2420 |
2685 |
2600 |
56-42 |
2760 |
2650 |
56-56 |
|||
2600 |
2620 |
600 |
240 |
150 |
2905 |
2810 |
60-48 |
2960 |
2850 |
60-56 |
订货须知:
一、①SSJB-10压盖式伸缩接头产品名称与型号②SSJB-10压盖式伸缩接头口径③是否带附件以便我们的为您正确选型。
二、若已经由设计单位选定SSJB-10压盖式伸缩接头型号,请按SSJB-10压盖式伸缩接头型号直接向我们标光阀门销售部订购。
三、当使用的场合非常重要或环境比较复杂时,请您尽量提供设计图纸和详细参数,由我们标光阀门专家为您审核把关。
尊敬的客户:
欢迎您访问我们的网站//www.chefcomm.com,首先感谢您对我们标光阀门的关注,如果您对我们的产品、服务有任何建议或者疑问的话,请立即联系我们!我们一定会尽心尽力为您提供优质的服务!!!




