产品搜索
公司:最新HTH华体育app下载
电话:
手机:13120937397
传真:
邮箱:408823840@qq.com
网址:www.chefcomm.com
QB1-10丝口式单口排气阀
QB1-10丝口式单口排气阀概述:
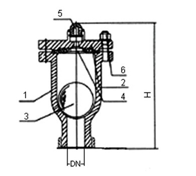
QB1单口排气阀主要由阀体、阀门、上盖、阀杆、浮球、排气嘴等组成。用于小口径管道上管子为φ50-200,它作为管道的排气作用,使管道不会出现闭气、气阻,如水泵停电时管内随时会出现负压力,自动吸气可保护管道安全。
QB1-10丝口式单口排气阀作用原理:
当需要排出管道内的气体时,管道内的空气在水的压强作用下进入体腔内,并从排气嘴排出,随之管道内的水充满体腔内,使浮球在水的浮力作用下,向上移动将排气嘴堵塞,达到自行密封,管道在正常行中,水中的空气在压强的作用下,不断排入排气阀的体腔上部,迫使浮球下降,离开原来密封位置,这时空气又从排气嘴排出,随之,浮球又恢复到原来位置自密封,因此,标光牌排气阀在正常工作中阀门始终是开着的,浮球不断重复上述动作,空气不断排出。当需要检修或清扫体腔时,应将阀门关闭。
QB1-10丝口式单口排气阀用途及主要性能规范:
1、本阀适用于温度不超过100℃的水、热水管道上使管道内的空气全部排出。
2、安装标光牌双口排气阀,底下一定要安装一只保护阀门、球阀,以免检验停水。
3、如需方求方本排气阀法兰大小尺寸如变动,请在合同上注明法兰连接尺寸。
QB1-10丝口式单口排气阀结构图:

QB1-10丝口式单口排气阀主要零配件:
1 |
2 |
3 |
4 |
5 |
6 |
7 |
8 |
阀体 |
空心球 |
密封垫 |
阀盖 |
排气咀 |
垫圈 |
螺母 |
双头螺柱 |
QB1-10丝口式单口排气阀主要外形连接尺寸:
型号 |
公称通径Dg |
主要及连接尺寸 |
阀体材料 |
||||
D |
D1 |
D2 |
H |
介质 |
|||
QB1-10法兰式 |
15 |
195 |
160 |
85 |
330 |
水 |
球墨铸铁、铸钢 |
20 |
195 |
160 |
85 |
330 |
水 |
球墨铸铁、铸钢 |
|
25 |
195 |
160 |
85 |
330 |
水 |
球墨铸铁、铸钢 |
|
QB1-10丝口式 |
1/2" |
280 |
水 |
球墨铸铁、铸钢 |
|||
3/4" |
280 |
水 |
球墨铸铁、铸钢 |
||||
1" |
280 |
水 |
球墨铸铁、铸钢 |
||||
11/4" |
280 |
水 |
球墨铸铁、铸钢 |
||||
11/2" |
280 |
水 |
球墨铸铁、铸钢 |
||||
订货须知:
一、①QB1-10丝口式单口排气阀产品名称与型号②QB1-10丝口式单口排气阀口径③是否带附件以便我们的为您正确选型。
二、若已经由设计单位选定QB1-10丝口式单口排气阀型号,请按QB1-10丝口式单口排气阀型号直接向我们标光阀门销售部订购。
三、当使用的场合非常重要或环境比较复杂时,请您尽量提供设计图纸和详细参数,由我们标光阀门专家为您审核把关。
尊敬的客户:
欢迎您访问我们的网站//www.chefcomm.com,首先感谢您对我们标光阀门的关注,如果您对我们的产品、服务有任何建议或者疑问的话,请立即联系我们!我们一定会尽心尽力为您提供优质的服务!!!




